玻璃转子流量计

玻璃转子流量计

    玻璃转子流量计是一种变面积式流量计,它主要由一根自下而上扩大的垂直玻璃锥管和一只可随流量大小上下移动的浮子组成(见图一),当流体自下而上流经锥管时,流体动能在浮子上产生的升力 S 和流体的浮力 A 使浮子上升,由于锥管内壁与浮子之间的环形流通面积增大,流体动能在浮子上产生的升力随之下降。当升力 S 与浮力 A 之和等于浮子自身重力 G 时,浮子处于平衡状态,稳定在某一高度上,该高度位置就代表流过流量计的流量值,因为流经流量计的流量与浮子上升高度,亦即与流量计的流通面积之间存在着的比例关系,浮子的高度位置可作为流量量度。
LZB 型锥管为光管(为使浮子上下移动稳定,浮子带有导杆,称内导向) ; LZJ 型为带筋管浮子上下移动稳定,称外导向)。
LZB 一( )F、 LZJ 一()F耐腐玻璃转子流量计,该流量计对酸(氟酸除外)、碱、氧化剂、有机溶剂和其它腐蚀性的气体或液体有较强的耐腐性能。
外形及安装连接尺寸 DN4 一 10 耐腐流量计外型为水平安装, DN15 一 50 DN80 一 100 耐腐流量计为垂直上下安装.


1 、型号规格及主要技参数见表 1

通径
mm
型号 范围度
测量范围
精度等级
锥管
长度
流体状况
水20℃ 空气20℃ mm 温度 压力
3 LZB-3W
LZB-3WF
LZB-3WB
LZB-3WBF
10:1 2.5~25 ml/min
6~60 ml/min
10~100ml/min
0.03~0.3l/min
0.06~0.6l/min
0.1~1l/min
0.15~1.5l/min

4
6
100
-20
~120℃
≤0.2
Mpa
4 LZB-4W
LZB-4WF
LZB-4WB
LZB-4WBF
16~160ml/min
25~250 ml/min
40~400 ml/min
0.3~3 l/min
0.6~6 l/min
0.7~7 l/min

2.5
4
6 LZB-6W
LZB-6WF
LZB-6WB
LZB-6WBF
0.04~0.4l/min
0.06~0.6l/min
0.1~1l/min
0.7~7 l/min
1~10 l/min
1.5~15 l/min

1.5

2.5
10 LZB-10W
LZB-10WF
LZB-10WB
LZB-10WBF
0.1~1 l/min
0.16~1.6 l/min
3~30 l/min
5~45 l/min
120


玻璃转子流量计选型规格表:

通径
mm
型号
范围
测量范围
锥管长度
精度等级
流体状况
水20℃ 气20℃ LZB/LZJ LZB/J-F 温度 压力
4 LZB-4
LZB-4F
10:1
1~10L/h
1.6~16L/h
2.5~25L/h
16~160L/h
25~250L/h
40~400L/h
100
2.5
2.5
4
-20~
120℃
≤1
6 LZB-6
LZB-6F
2.5~25L/h
4~40L/h
6~60L/h
40~400L/h
60~600L/h
100~1000L/h
10 LZB-10
LZB-10F
6~60L/h
10~100L/h
16~160L/h
100~1000L/h
160~1600L/h
250~2500L/h
160
15 LZB-15
LZB-15F
16~160L/h
25~250L/h
40~400L/h
0.25~2.5m3/h
0.4~4m3/h
0.6~6m3/h
350
4
≤0.6
Mpa
25 LZB-25
LZB-25F
40~400L/h
60~600L/h
0.1~1m3/h
1~10m3/h
1.6~16m3/h
2.5~25m3/h
1.5
2.5
40
LZB-40
LZB-40F
0.16-1.6m3/h
0.25-2.5m3/h
4~40m3/h
6~60m3/h
430
50
LZB-50
LZB-50F
0.4~4m3/h
0.6~6m3/h
10~100m3/h
16~160m3/h
450
80
LZB-80
LZB-80F
10:1
5:1
1~10m3/h
1.6~16m3/h
5~25m3/h
50~250m3/h
80~400m3/h
500
1.5
2.5
≤0.4
Mpa
100
LZB-100
LZB-100F
5:1 5~25m3/h
8~40m3/h
12~60m3/h
12~600m3/h
200~1000m3/h

公称通径 DN

型号

A

B

C

D

M

E*

N

设备安装孔

软管接咀

金属管接咀

外螺纹

G

h

3

LZB-3W

LZB-3WB

28

136

56

27.5

116

<52

?8

M10 × 1

?6.2

SR4

?11

4

LZB-4W

LZB-4WB

6

LZB-6W

LZB-6WB

58

29.5

<60

?10

M12 × 1

?8.2

SR5

10

LZB-10W

LZB-10WB

160

63

140

?11

M16 × 1.5

?12.1

SR7

玻璃转子流量计

玻璃转子流量计

公称通径 DN

型号

连接方式

A

B

C

D

E

M

N

4

LZB-4

29

171

119

40

  

-

145

?9.5

软管

6

LZJ-6

10

LZJ-10

36

244

178

43

208

?11.5

15

LZJ-15

?95

470

?65

?15

4 × ?14

  

-

  

-

法兰

25

LZB-25

?115

?85

?25

40

LZB-40

?145

570

?110

?40

4 × ?18

50

LZB-50

?160

?125

?50

80

LZB-80

?185

660

?150

?80

100

LZB-100

?205

?170

?100

玻璃转子流量计

玻璃转子流量计

玻璃转子流量计

玻璃转子流量计

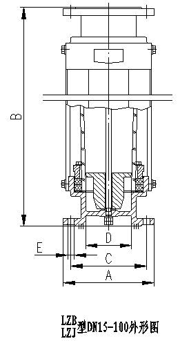
LZB/LZJ (DN15-100)拉杆式流量计

玻璃转子流量计

拉杆式流量计具有结构简单,牢固,压力损失小等特点。耐腐型采用不锈钢材料或衬氟塑料,密封件可选氟橡胶或聚四氟乙烯等,对绝大部分常用酸、碱、氧化剂、有机溶剂等有较强的耐腐蚀性。 DN4-10 采用软管连接,亦可根据客户需要设计、制造特殊安装方式。

1. 型号规格及主要技术参数

公称通径( mm )

型号

测量范围

准确度等级

允许被测流体状况

水 20 ℃

空气 20 ℃ 101325Pa

温度(℃)

压力等级( MPa )

15

LZB-15

LZB-15F

10 ~ 100L/h

16 ~ 160L/h

25 ~ 250L/h

40 ~ 400L/h

60 ~ 600L/h*

0.25 ~ 2.5m3/h

0.4 ~ 4m3/h

0.6 ~ 6m3/h

1.2 ~ 12m3/h

2 ~ 20m3/h*

2.5 级

耐腐型为 4 级

-20 ~ 120

≤ 0.6

25

LZB-25

LZB-25F

40 ~ 400L/h

60 ~ 600L/h

100 ~ 1000L/h

160 ~ 1600L/h

250 ~ 2500L/h*

1 ~ 10m3/h

1.6 ~ 16m3/h

2.5 ~ 25m3/h

5 ~ 50m3/h

6 ~ 60m3/h*

1.5 级

耐腐型为 4 级

40

LZB-40

LZB-40F

160 ~ 1600L/h

250 ~ 2500L/h

400 ~ 4000L/h*

4 ~ 40m3/h

6 ~ 60m3/h

12 ~ 120m3/h*

50

LZB-50

LZB-50F

400 ~ 4000L/h

600 ~ 6000L/h

1000 ~ 10000L/h*

10 ~ 100m3/h

16 ~ 160m3/h

30 ~ 300m3/h*

80

LZB-80

LZB-80F

1000 ~ 10000L/h

1600 ~ 16000L/h

2500 ~ 25000L/h

3600 ~ 36000L/h*

25 ~ 250m3/h

40 ~ 400m3/h

60 ~ 600m3/h

100 ~ 1000m3/h*

≤ 0.4

100

LZB-100

LZB-100F

5 ~ 25m3/h

8 ~ 40m3/h

20 ~ 60m3/h

40 ~ 100m3/h*

120 ~ 600m3/h

200 ~ 1000m3/h

600 ~ 1600m3/h

1200 ~ 3000m3/h*

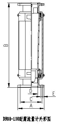
2. 外形及安装连接尺寸

玻璃转子流量计

玻璃转子流量计

公称通径( mm )

A

B

C

D

15

Φ 95

Φ 65

4- Φ 14

Φ 15

25

Φ 115

Φ 85

Φ 25

40

Φ 145

Φ 110

4- Φ 18

Φ 40

50

Φ 160

Φ 125

Φ 50

80

Φ 185

Φ 150

Φ 80

100

Φ 205

Φ 170

Φ 100

注:法兰标准 GB/T9119-2000, 也可按照用户要求定做。

3. 流量计接触测量流体的零部件材质

零件名称

普通型材质

耐腐型材质

密封片

丁腈橡胶

氟橡胶

锥管

硼硅酸盐玻璃

浮子

不锈钢、铝、 PTFE

外包氟塑料

止档

尼龙

PTFE

基座

铸铁涂防腐漆

铸铁内衬氟塑料

LZB-( )W(B)(F)玻璃转子流量计

玻璃转子流量计

 

该系列流量计用于检测和调节微小流量,结构轻巧,分为带调节阀( WB 型)和不带调节阀( W 型)两种。还可根据客户使用情况制造耐腐型( WBF 和 WF 型)。连接方式分为软管连接和螺纹连接。

1. 型号规格及主要技术参数

 

公称

通径 DN  

mm

型号

范围度

测量范围

           准确度等级

锥管长度 mm

允许被测流体状况

水 (20 ℃ )

空气  (1.013 × 10 5 Pa20 ℃ )

温度

压力 MPa

3

            LZB-3W(F)

LZB-3WB(F)

10:1

                 0.4 ~ 4l / min   

0.6 ~ 6ml / min

1 ~ 10ml / min

2.5 ~ 25ml / min

4 ~ 40ml / min

  6 ~ 60ml / min

10 ~ 100ml / min

                   6 ~ 60ml / min

10 ~ 100ml / min

16 ~ 160ml / min

0.03 ~ 0.3L / min

0.06 ~ 0.6L / min

0.1 ~ 1L / min

0.15 ~ 1.5L / min

 

4 级

耐腐型为 6 级  

 

100

-20 ~ 120 ℃

≤ 0.2

4

LZB-4W(F)

LZB-4WB(F)

16 ~ 160ml / min

25 ~ 250ml / min

40 ~ 400ml / min

0.3 ~ 3L / min

0.6 ~ 6L / min

0.7 ~ 7L / min

4 级

耐腐型为 6 级  

6

LZB-6W(F)

LZB-6WB(F)

40 ~ 400ml / min

60 ~ 600ml / min

0.1 ~ 1L / min

0.7 ~ 7L / min

1 ~ 10L / min

1.5 ~ 15L / min

 

2.5 级

耐腐型为 4 级

10

LZB-10W(F)

LZB-10WB(F)

0.1 ~ 1L / min

0.16 ~ 1.6L / min

3 ~ 30L / min

5 ~ 45L / min

100

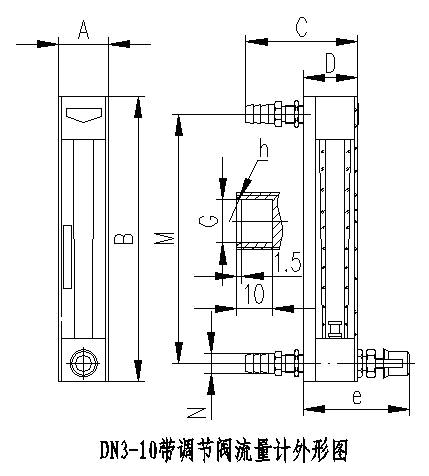
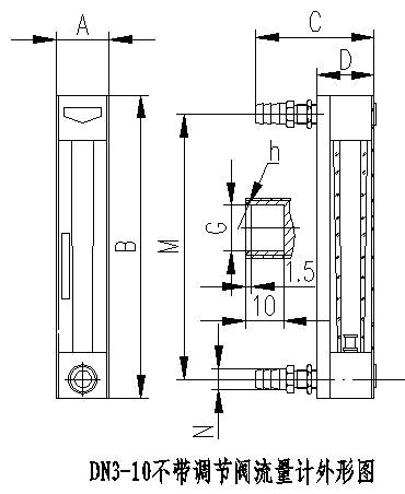
2. 外形及安装连接尺寸 :

   流量计有带调节阀 (WB 型 ) 和不带调节阀 (W 型 ) 二种形式 , 其外形图见图一、图二,安装连接尺寸见表 1

图一

玻璃转子流量计

图二

玻璃转子流量计

表 1 

                         单位: mm

型号

A

B

C

D

M

E*

软管接嘴

N

金属管接嘴

设备安装孔

外螺纹

G

h

LZB-3W(F)

LZB-3WB(F)

23

136

52

22.5

116

< 74

Φ 8

M10*1

Φ 6.2

SR4

Φ 11

LZB-4W(F)

LZB-4WB(F)

LZB-6W(F)

LZB-6WB(F)

LZB-10W(F)

LZB-10WB(F)

56

26.5

< 78

Φ 10

M12*1

Φ 8.2

SR5

注: *WB 专有

3. 流量计接触测量流体的零部件材质

浮子

基座

针阀

止档

O 形圈及密封垫片

普通型

不锈钢或玛瑙

黄铜镀铬

不锈钢

尼龙

丁腈橡胶

耐腐性

不锈钢

PTFE

氟橡胶

 

LZB/LZJ (DN4-10 )玻璃转子流量计

玻璃转子流量计

该系列流量计具有结构简单,牢固,压力损失小等特点。耐腐型采用不锈钢材料或衬氟塑料,密封件可选氟橡胶或聚四氟乙烯等,对绝大部分常用酸、碱、氧化剂、有机溶剂等有较强的耐腐蚀性。 DN4-10 采用软管连接,亦可根据客户需要设计、制造特殊安装方式。

1. 型号规格及主要参数见下表                   单位: mm

公称通径( mm )

型号

测量范围

准确度等级

允许被测流体状况

水 20 ℃

空气 20 ℃ 101325Pa

温度(℃)

压力等级( MPa )

4

LZB-4

LZB-4F

1 ~ 10L/h

1.6 ~ 16L/h

2.5 ~ 25L/h

16 ~ 160L/h

25 ~ 250L/h

40 ~ 400L/h

4 级

耐腐型为 6 级

- 20 ~ 120

≤ 1

6

LZJ-6

LZJ-6F

2.5 ~ 25L/h

4 ~ 40L/h

6 ~ 60L/h

40 ~ 400L/h

60 ~ 600L/h

100 ~ 1000L/h

2.5 级

耐腐型为 4 级

10

LZJ-10

LZJ-10F

6 ~ 60L/h

10 ~ 100L/h

16 ~ 160L/h

100 ~ 1000L/h

160 ~ 1600L/h

250 ~ 2500L/h

2. 外形、安装连接方式及连接尺寸如下:   

          单位: mm

玻璃转子流量计

3. 流量计接触测量流体的零部件材质

零件名称

普通型材质

耐腐型材质

针阀

不锈钢

针阀座

黄铜镀铬

不锈钢

下基座

黄铜镀铬

不锈钢

止档

PTFE

顶紧器

黄铜镀铬

不锈钢

闷头

黄铜镀铬

不锈钢

上基座

黄铜镀铬

不锈钢

密封片

丁腈橡胶

氟橡胶

锥管

硼硅酸盐玻璃

浮子

不锈钢或玛瑙

接嘴

黄铜镀铬

不锈钢